完美(体育中国)官方网站-共创完美新生态

华润系成立新公司-完美体育官方网站
i1pcban.jpg i1pcban.jpg

最新资讯

华润系成立新公司

2025-11-23 

分享到

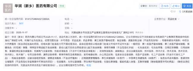
  赛柏蓝查询企查查数据显示,11月17日,华润(新乡)医药有限公司成立,该公司由华润河南医药有限公司持股100%,注册资本3000万元,经营范围包括药品批发、药品零售、第三类医疗器械经营、食品销售等。

华润系成立新公司(图1)

华润系成立新公司(图2)

  作为控股股东,华润河南医药是华润医药商业集团旗下核心子公司,注册资本达21.915亿元,总部坐落于郑州经济技术开发区,是河南省医药流通行业唯一一家国有全资央企。

  华润河南医药具备国家GSP认证资质,业务网络覆盖河南省18地市,下设21家分子公司,经营产品规格超6万个,其于2019年、2021年分别位列河南企业100强第30位和第35位,在区域医药流通领域占据重要市场地位。

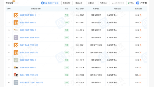
  企查查数据显示,华润河南医药控股的医药企业共有14家,业务范围覆盖南阳、洛阳、周口等河南主要城市。

华润系成立新公司(图3)

  华润(新乡)医药有限公司所在的新乡市为豫北地区重要城市,凤泉区产业集聚区更是区位优势显著。作为华润系在豫北地区的新布局,华润(新乡)医药或进一步强化对新乡、焦作、安阳等城市的覆盖,填补该区域的发展空缺。

  值得注意的是,这一布局与此前的项目规划有望形成协同,进一步完善其在河南省级平台叠加地市网点的布局——2024年12月10日,凤泉区人完美体育 365官网登录入口民政府与华润河南医药有限公司签订合作协议,计划投资5亿元在该产业集聚区建设现代化医药物流园,引入集团成熟的仓储管理系统(WMS),实行药品的进货、存储、养护、集结、配送的信息化管理,建立独立整合物流、系统集成能力的医药产业聚群。

  从集团层面来看,华润医药商业集团主营业务涵盖医药批发、零售及第三方物流等,与国内外近万家医药生产企业保持长期稳定合作,构建起以北京为中心、覆盖全国31个省市的营销网络,服务于各级医疗机构、医药批发企业及零售药店,经营规模稳居全国医药商业企业前三。

  财务数据显示,医药纯销与医药分销是其核心营收支柱,2025年上半年分别占总营收的68.19%、27.53%,对应毛利占比为67.60%、26.53%。

华润系成立新公司(图4)

  此次新乡新公司的设立,与行业发展趋势相似——当前我国医药商业行业正加速进入整合期,市场集中度持续提升。

  11月19日,中国医药健康产业股份有限公司旗下通用技术江苏医药科技有限公司副总经理董泽成在赛柏蓝承办的第46届中国医药产业发展大会暨2025年医药行业发展形势研讨会上对我国医药商业企业未来发展格局趋势作出预测,未来将整合不到100家(以集团计),形成“国央企+地方龙头”格局。

  医药商业企业的竞争已从全国跑马圈地进入区域精耕细作阶段,通过成立子公司/孙公司进行市场渗透成为头部流通企业渗透市场的方式之一,主要是子公司/孙公司可快速适应当地政策环境、医疗市场特点与终端需求,制定精准营销策略。

  华润医药商业正是通过加密区域网点、强化省级平台协同等,进一步巩固全国性网络优势。目前来看,九州通等头部流通药商也采用类似策略。不完全统计,其年内已成立7家涉及汽车/电车销售的公司;中药材领域年内已经成立十多家公司。

  董泽成进一步指出,随着本轮行业整合完成,国内医药商业格局将基本固化,未来竞争核心在于“价值创造”——企业需强化金融属性、拓展高毛利业务、拥抱数字化转型;同时严控运营成本、优化账期管理、严守合规底线;并通过参与行业整合、构建生态合作、打造新质生产力。

  回到华润医药商业集团的发展,其表示,继续加大对优质产品引进力度,落实区域化发展战略,打造多个重点区域市场,并通过不断提升学术能力和创新数字化营销,满足专病专业推广和基层慢病推广的下沉需求,提升终端市场份额,形成全国网络布局。

  截至目前,已经有多家大型药企高管发生变动,涉华润三九、华润双鹤、复星医药、北大医药、葵花药业......

  8月与11月,两次相隔不久的人事调整公告,让外界重新把目光投向华润医药:程杰先后出任华润医药集团执行董事、总裁,以及华润医药控股的总经理与法定代表人。

  作为国内第一瓶装水的缔造者,“怡宝”母公司华润饮料(控股)有限公司(下称“华润饮料”)不仅在包装饮用水赛道连续十年屈居“亚军”,在饮料品类层面亦是“掉队”。

  转让底价162.15万元,华润三九挂牌转让三九(安国)现代中药开发有限公司49.8967%股权。

  10月11日,华润旗下江中药业宣布,已与蚌埠投资集团签署股权转让协议,收购安徽省精诚徽药药业有限公司(以下简称“精诚徽药”)70%股权。

  近日,上海联合产权交易所挂牌信息显示,华润三九挂牌转让三九(安国完美体育 365官网登录入口)现代中药开发有限公司49.8967%股权,转让底价162.15万元。

  2025H1实现百亿营收的有白云山、云南白药、华润三九,同仁堂逼近百亿门槛。

  2025年5月13日,上海联合产权交易所挂牌信息显示,转让方华润三九医药股份有限公司(000999.SZ)挂牌转让湖北九州通医药科技有限公司51%股权。

  挂牌两次仍无意向方摘牌,华润博雅生物再次调整江西博雅欣和80%股权挂牌价格。

  跨国药企“瘦身”持续,继默沙东宣布减员6000人后,手握“药王”司美格鲁肽、坐拥庞大市场的赢家诺和诺德跟进“精简”9000人。